SIDE DRAFT SIX
1977 BMW 630csi: H&B
about
bio
contact
build
interior
ice
upgrades
upholstery
exterior
body
wheels
powertrain
engine
driveline
suspension
useful info.
original
H&B history
STORE
Shop
My Account
Cart
Checkout
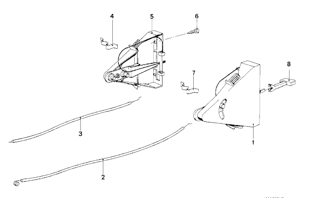
bowden cable service
» Bowden_realoem
Monday, April 29th, 2013 at 4:33 pm